Apple Ring Looks Way More Than A Health Monitoring Device, Patent Application Says

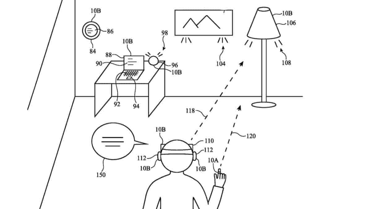
Apple Smart Ring has been part of multiple reports and rumors and will stay for a while as no one has any idea when the company will launch this. Now ahead of any official word from the company, the patent application has come out that shows the kind of device and functionality it can bring with itself. As per the patent application published by the US Patent Office (USPTO)(via AppleInsider) a “Ring Device” can be configured to control and work with multiple electronic devices in the user’s environment.

These devices mentioned in the document are not only the Apple devices that can be controlled through this link but also desktop computer, an office speaker, and an office lamp, a bedroom map etc. Apple has not clarified how all these devices might be used or controlled through the ring.

This is sure that this ring will be able to receive input in the form of of hand gestures, touch input, force input, voice input, pointing input, gaze input, and other user input involving the position of the user’s body (e.g., the location, orientation, and movement of one or more fingers and/or other body parts), and/or other user input. The document says that it can come with sensors such as inertial measurement units and/or other sensors that allow such body-based input to be gathered. It can also come with a microphone. There is still a lot to come out and needs to be elaborated like using rings on the keyboard, the purpose of wearing multiple rings, and a few other things. Here it’s important to mention that it’s just a patent application filed by the company so we might get to see these things in the final product or may not.