Apple granted patent for Touch IDs for Mac by US Patent & Trademark Office

Recently we reported about the next-gen Apple HomePod that’s going to come with an integrated camera, gaze controls, and an upgraded version of Siri. This came through a series of patent figures shared by the US Patent & Trademark Office. Last week Apple was granted a patent related to Touch ID for Macs and other devices by the US Patent and Trademark Office.
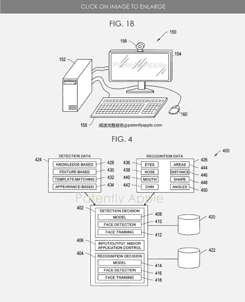
One of the patent figures reveals that Mac Desktop and iPhone were the original targets of this patent. In Fig 4 illustrative embodiment of the invention can be seen. As per the reports Apple envisioned this feature very early on, just after the launch of the iPhone in the market.
Reports also claim that facial recognition would be used to access a user’s email. And it would also work for the user with one or two eyes. Apple’s recent patents were either about its Vision Pro or Home Pod. Integration of Vision Pro’s Eye tracking technology is going to raise the bar for other such products in the market. It will come with features like an eye movement tracker, face id recognition, and voice recognition. It’s expected to debut soon in the market with these aforementioned features.